Planetentandwiel as Valeo D6RA7 | 15 OEM 135326
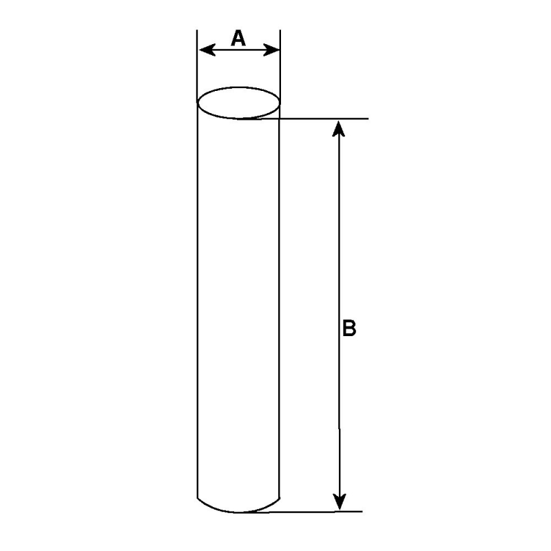
| Fysieke specificaties (Sluitringen) | ||
|---|---|---|
| A | Buitendiameter in mm | 4.00 |
| B | lengte in mm | 13.90 |
Vervangt | ||
|---|---|---|
| 0541d | GHIBAUDI | |
| 135326 | VALEO | |
Met een account kun je sneller bestellen en heb je een overzicht van je eerdere bestellingen.
Account aanmaken| Fysieke specificaties (Sluitringen) | ||
|---|---|---|
| A | Buitendiameter in mm | 4.00 |
| B | lengte in mm | 13.90 |
Vervangt | ||
|---|---|---|
| 0541d | GHIBAUDI | |
| 135326 | VALEO | |
andere momenten druk met inpakken vd pakketjes, inkoop ed.
Tot | Bis | Untill : 21 Kg
